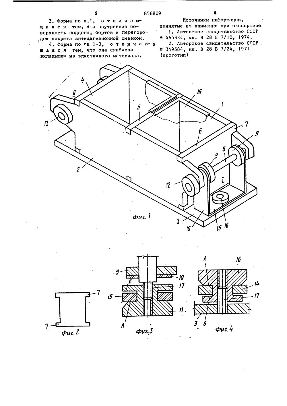
Изготовление и испытание образцов