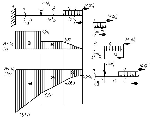
Изгиб балки решение задач