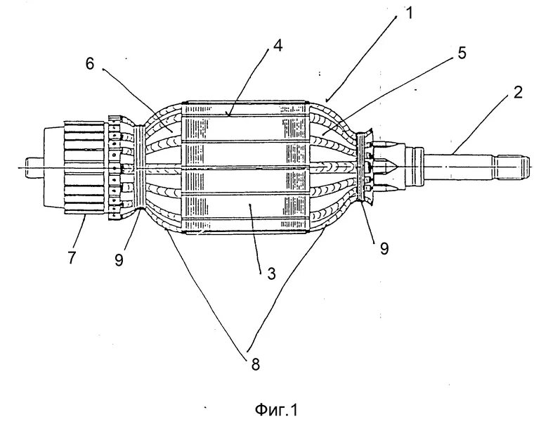
Исполнение ротора