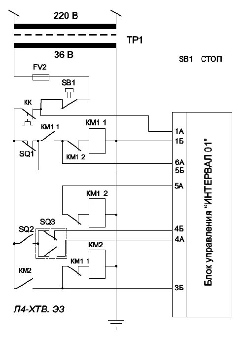
Интервал управления