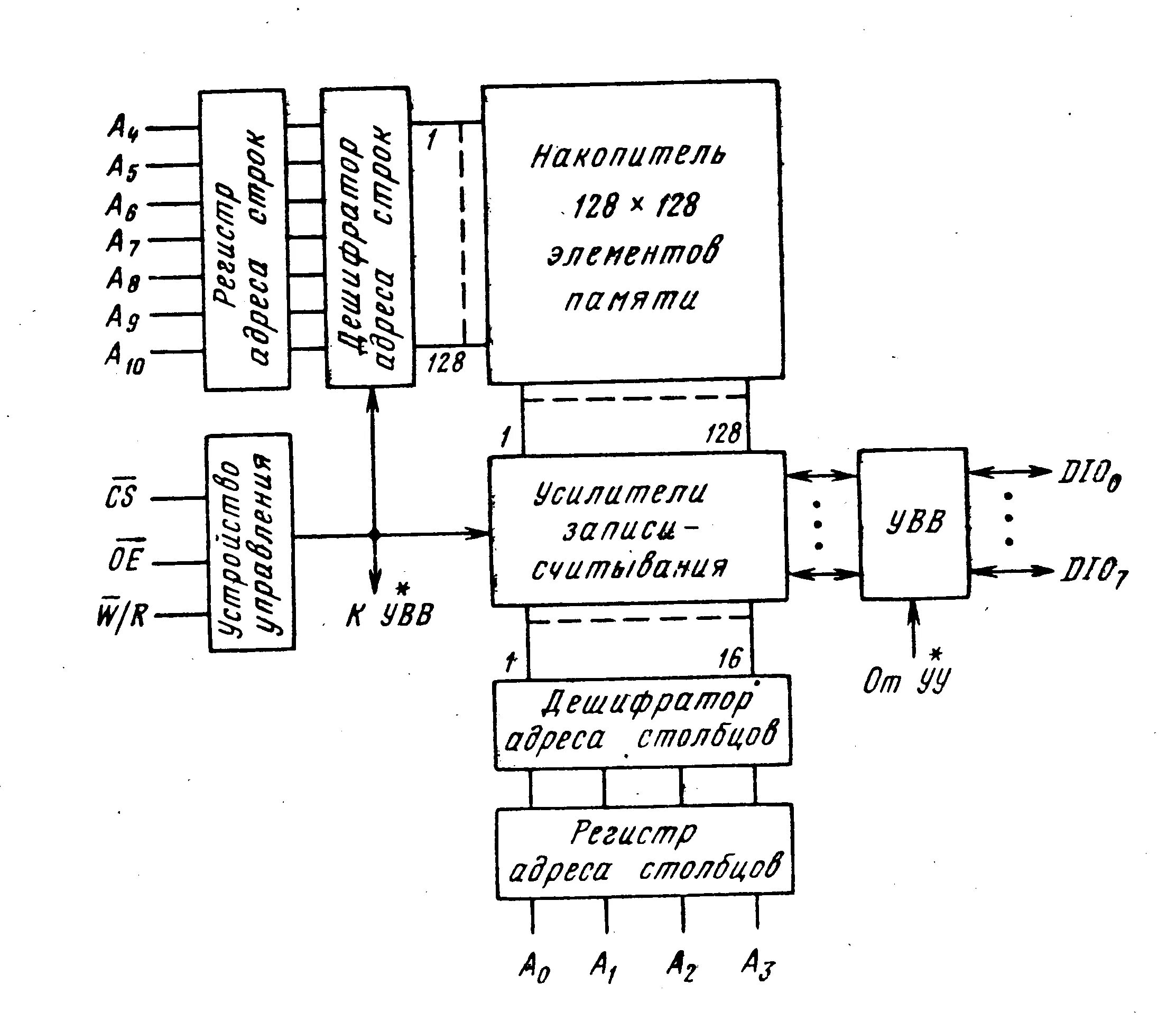
Интерфейсы запоминающих устройств