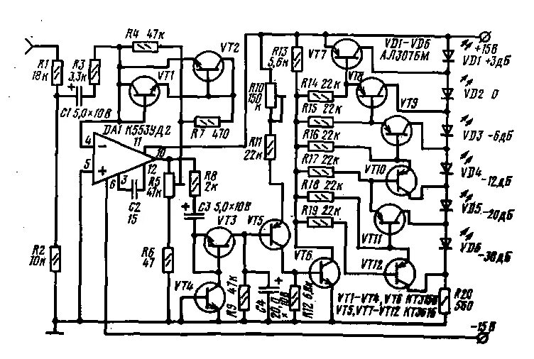
Индикатор уровня записи