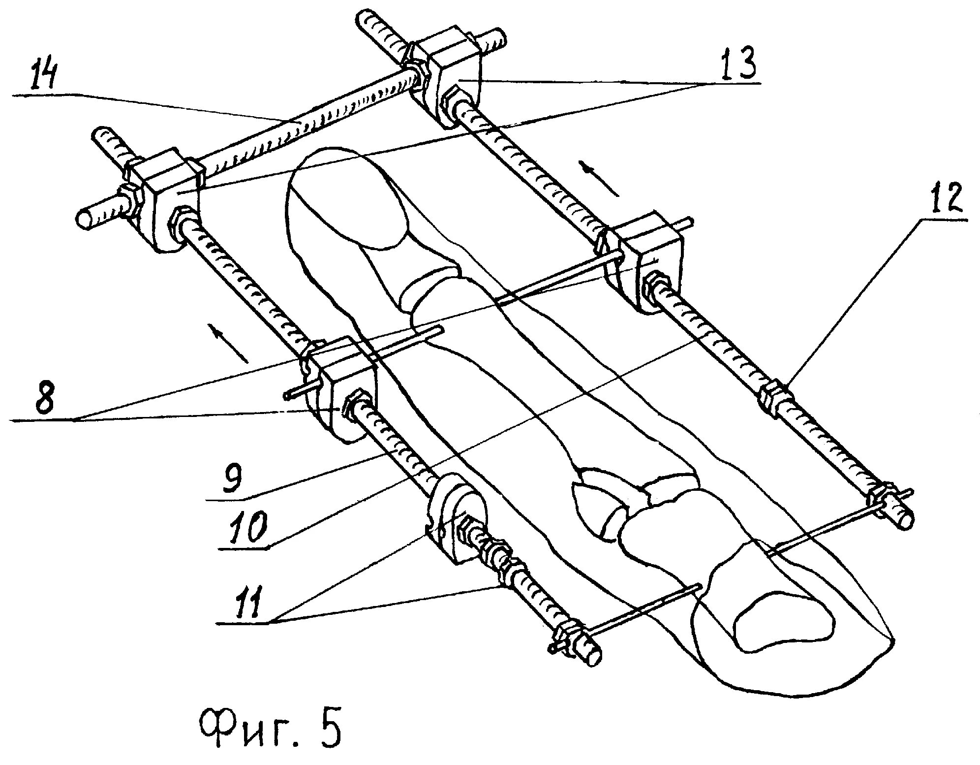
И точную фиксацию с