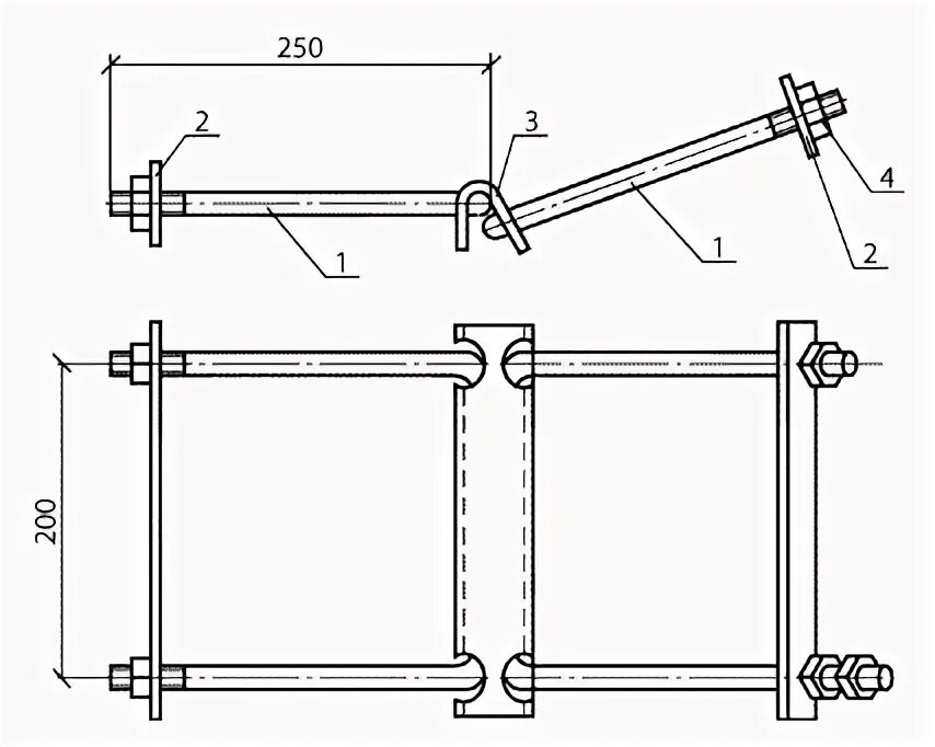
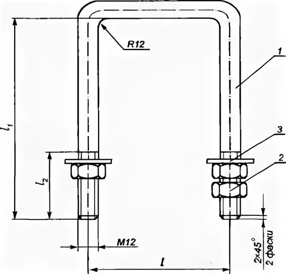
Хомуты для крепления траверс