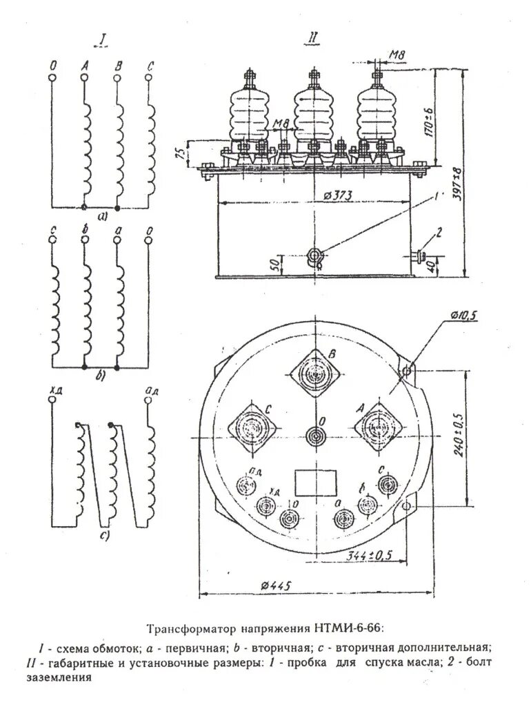
Характеристики трансформатора напряжения