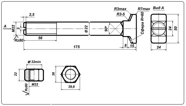
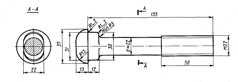
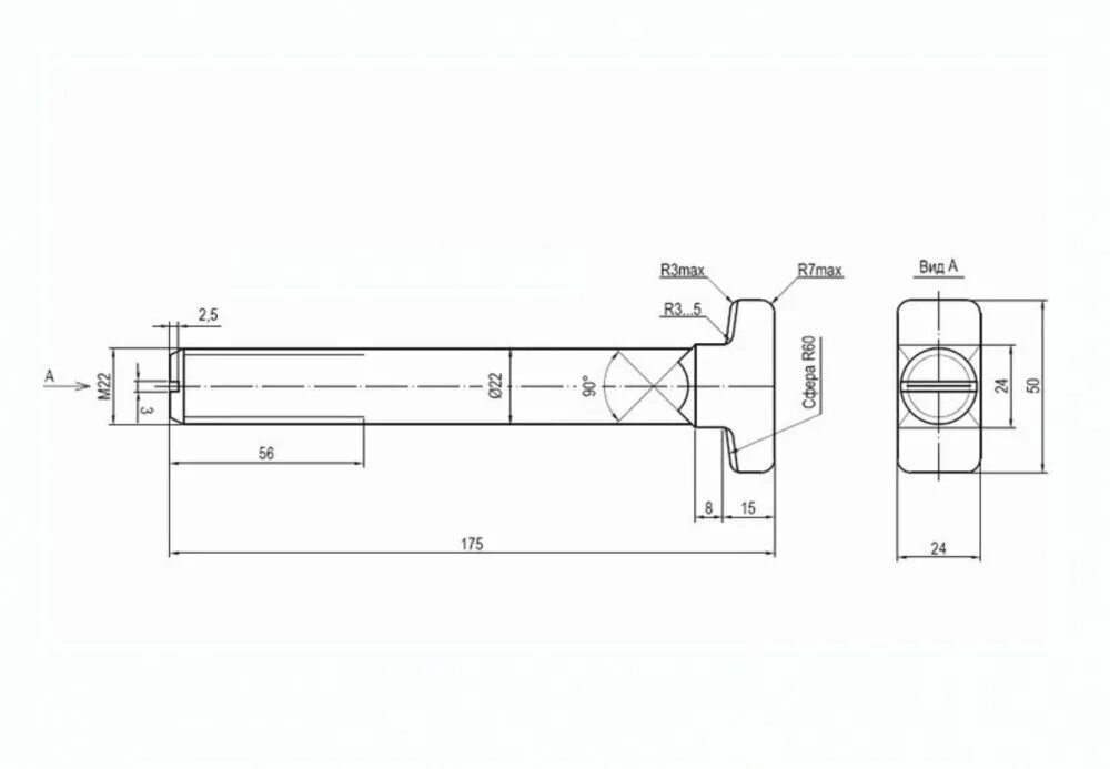
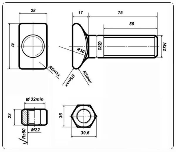
Х 22 размер