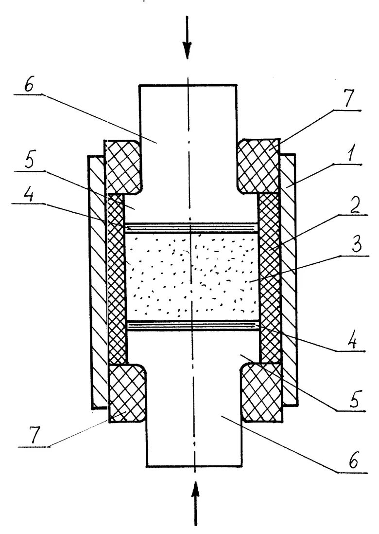
Горячее изостатическое прессование