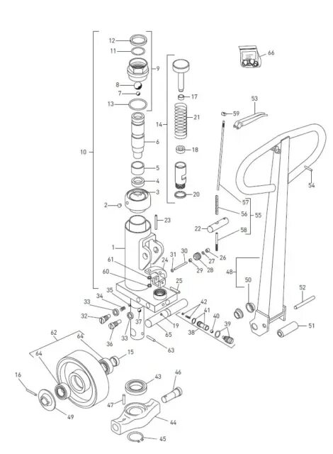
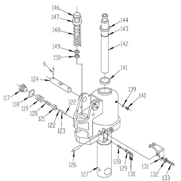
Гидроузел гидравлической тележки