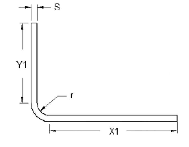
Гибка металла расчет развертки