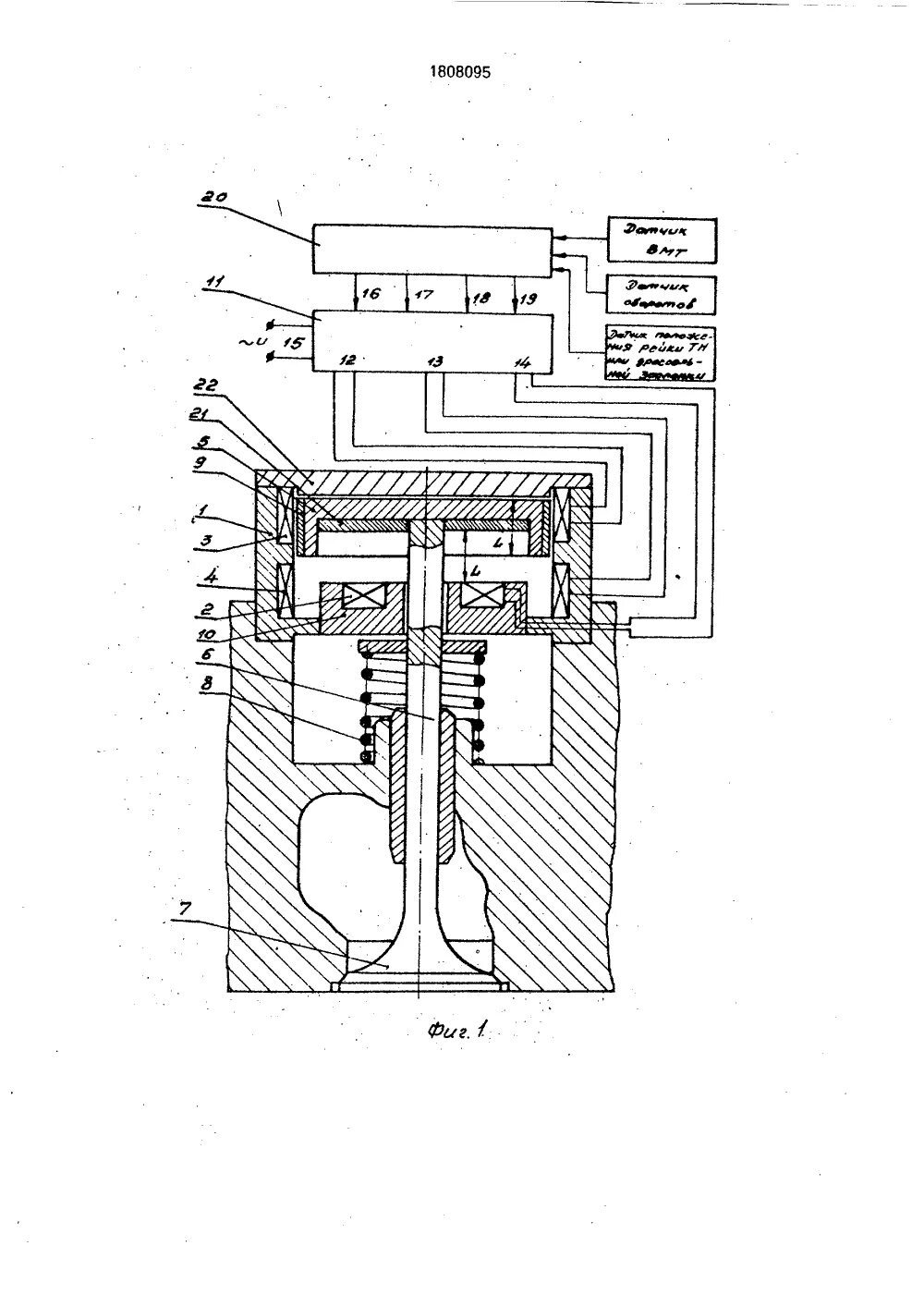
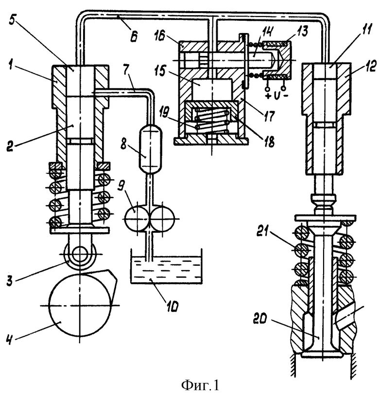
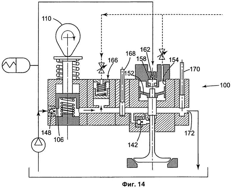
Геншин с помощью приводного клапана откройте проход