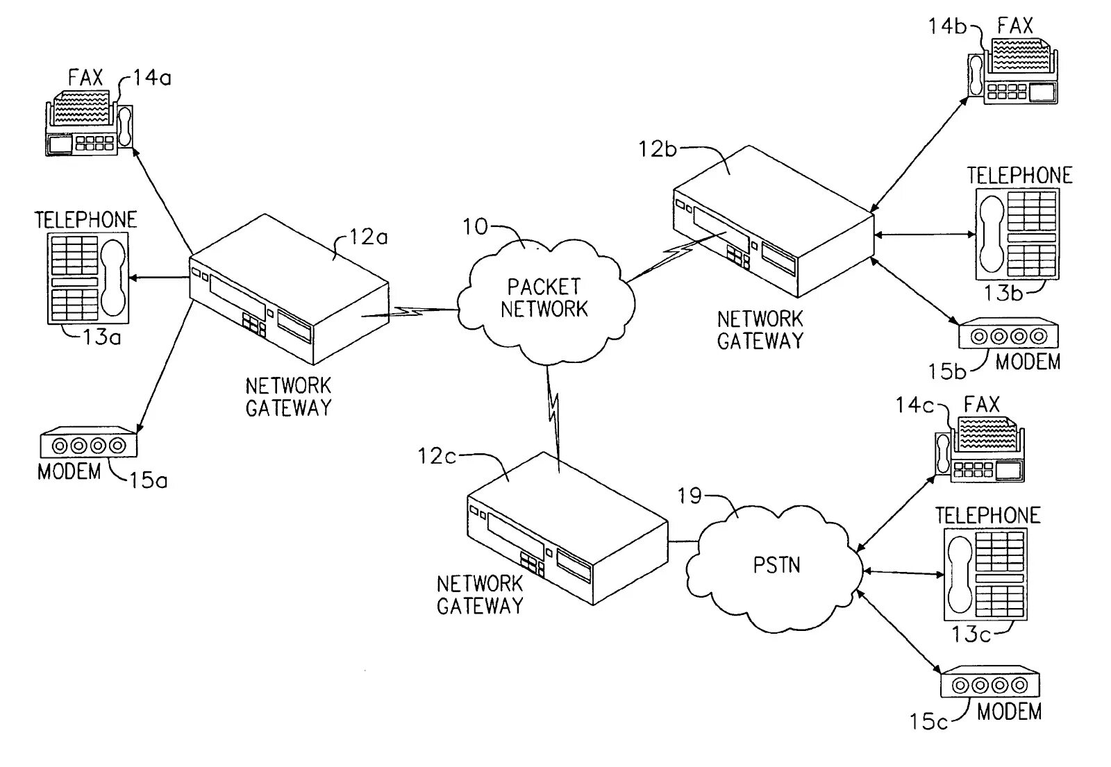
Gateway filter