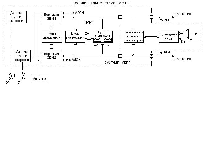
Функциональная схема представляет