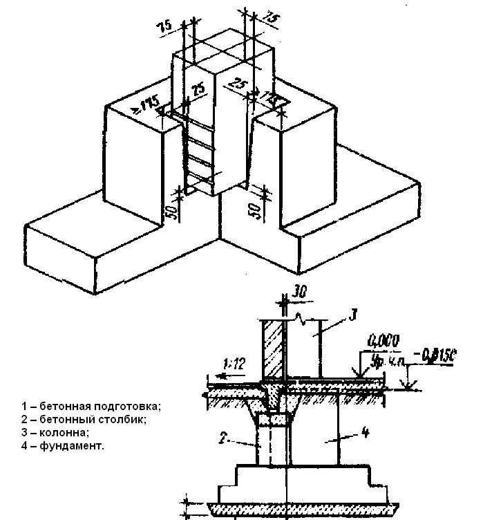
Фундамент колонн стаканного типа