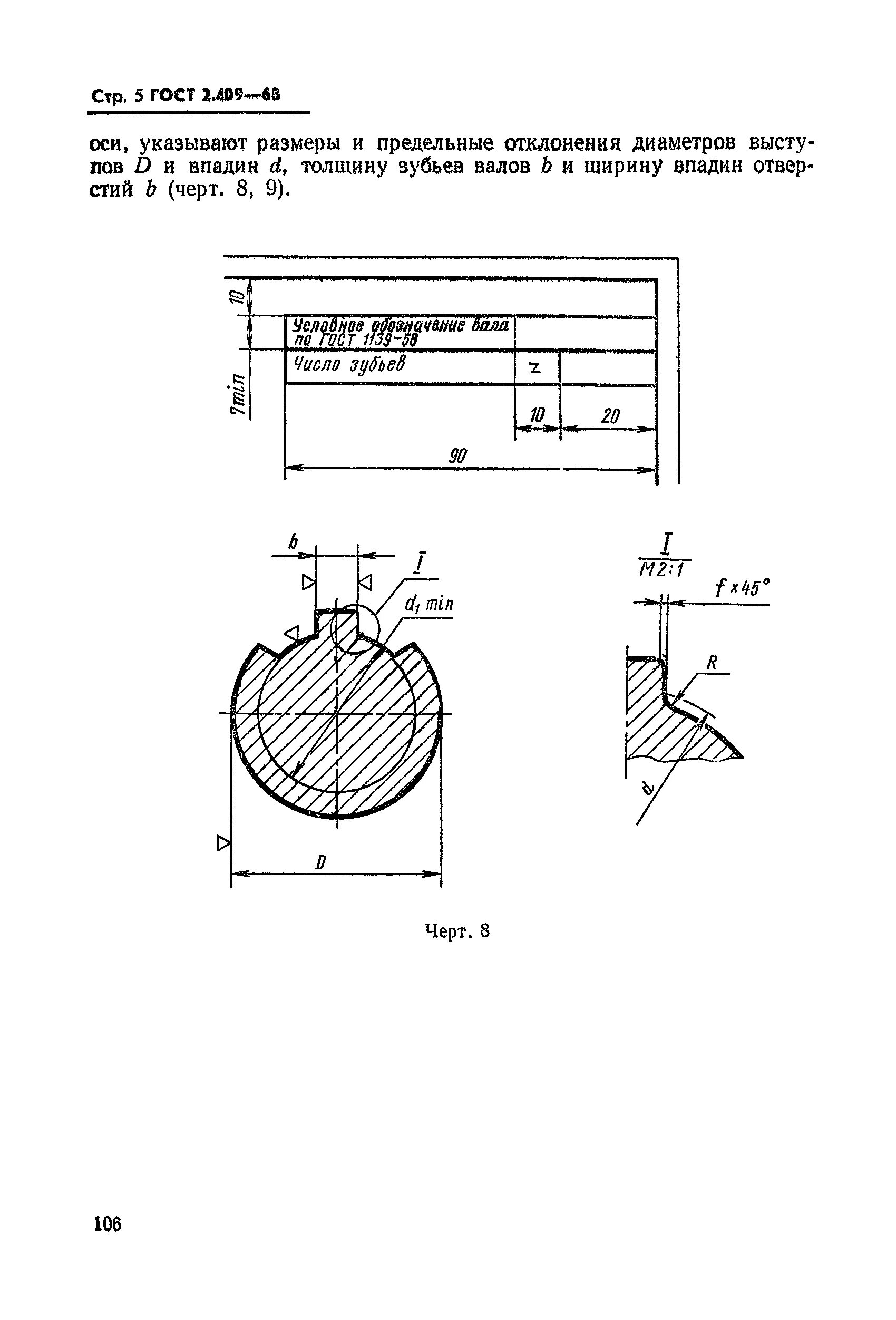
Ескд общие правила выполнения чертежей