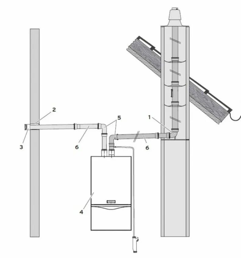
Дымоход одноконтурных газовых котлов