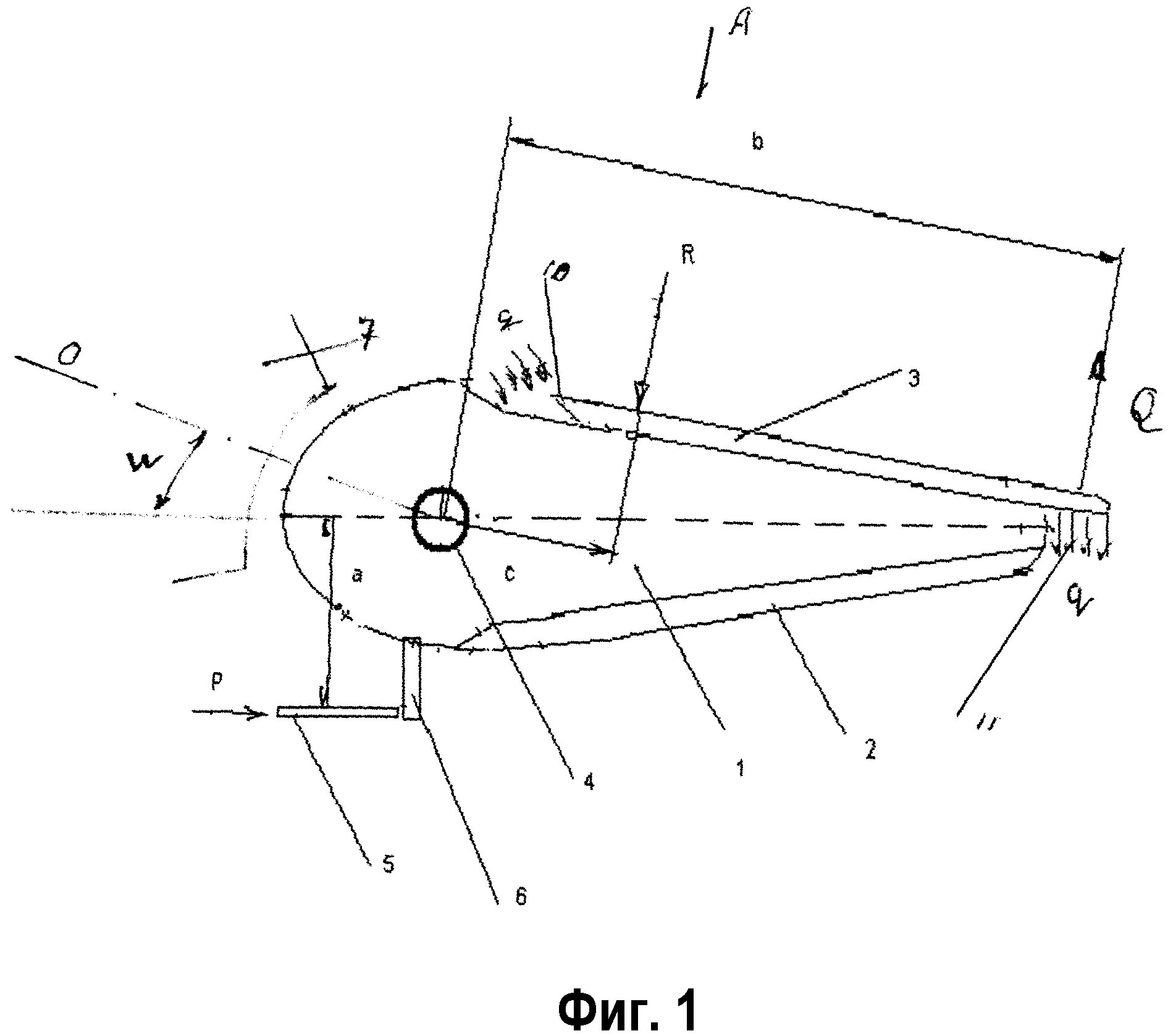
Движения летательного аппарата