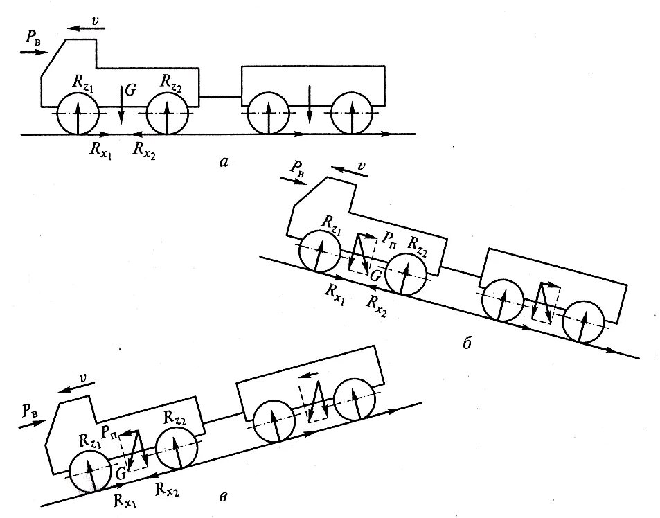
Движение тракторов с прицепами