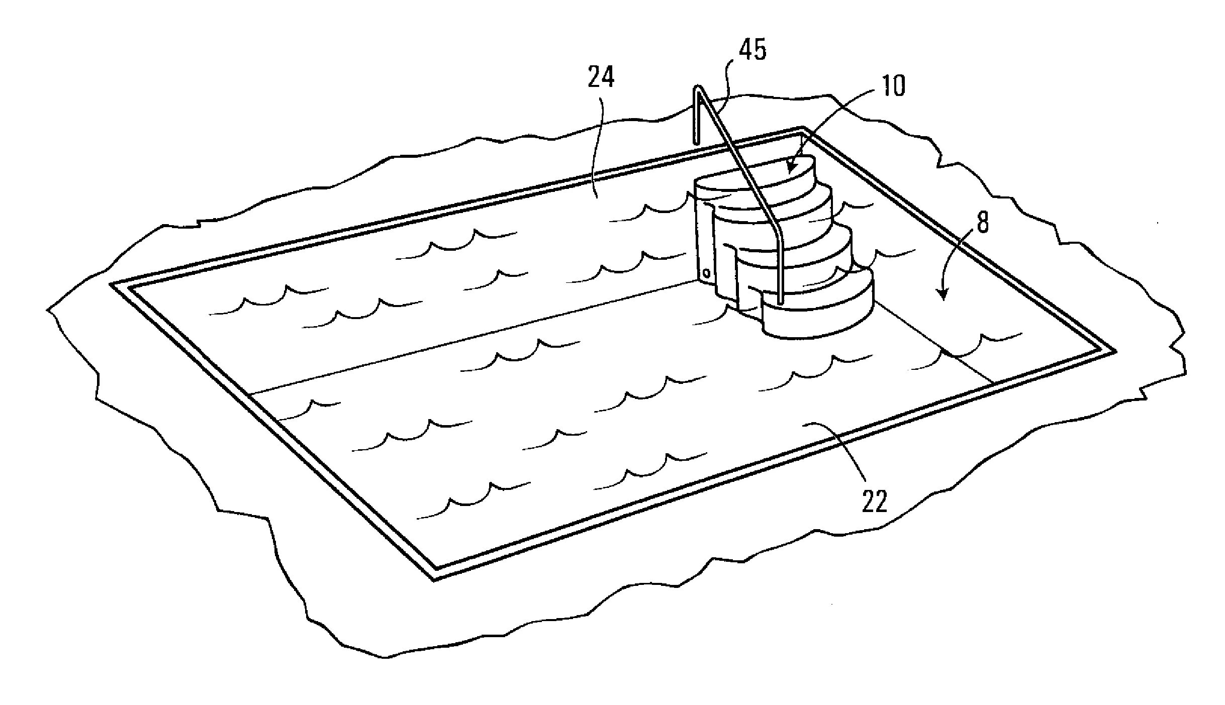
Drawing pool