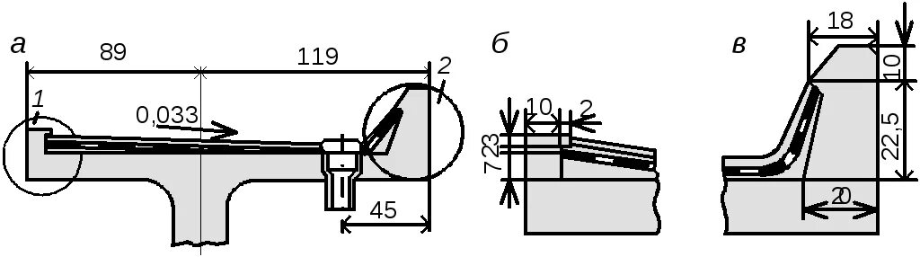
Допускается наращивание бортов балластного корыта сдо