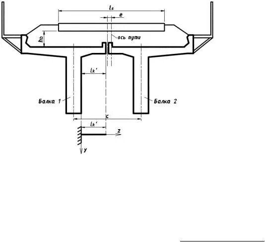
Допускается наращивание бортов балластного корыта на величину