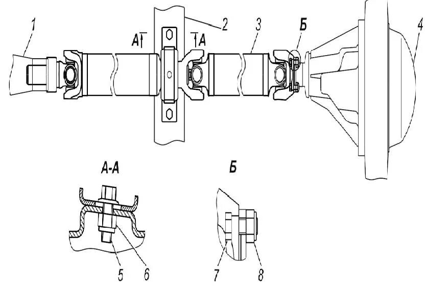
Длина карданного вала газель