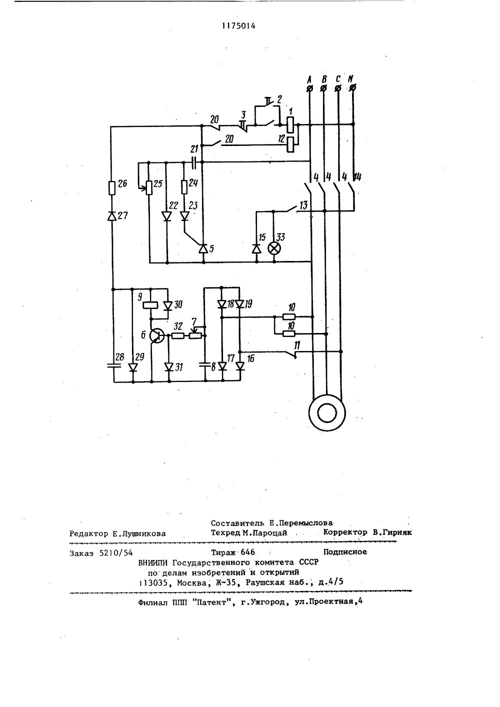
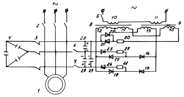
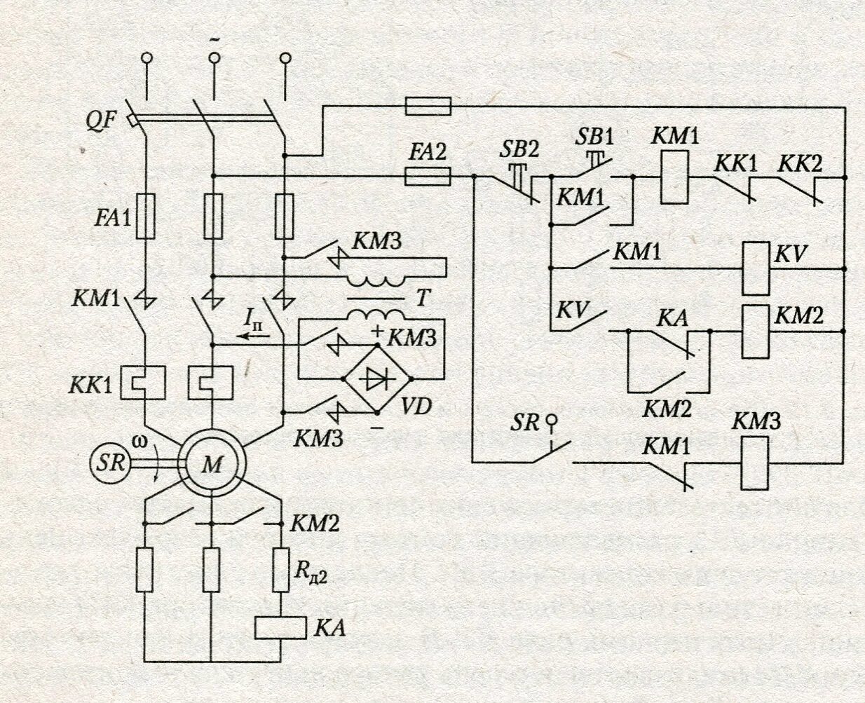
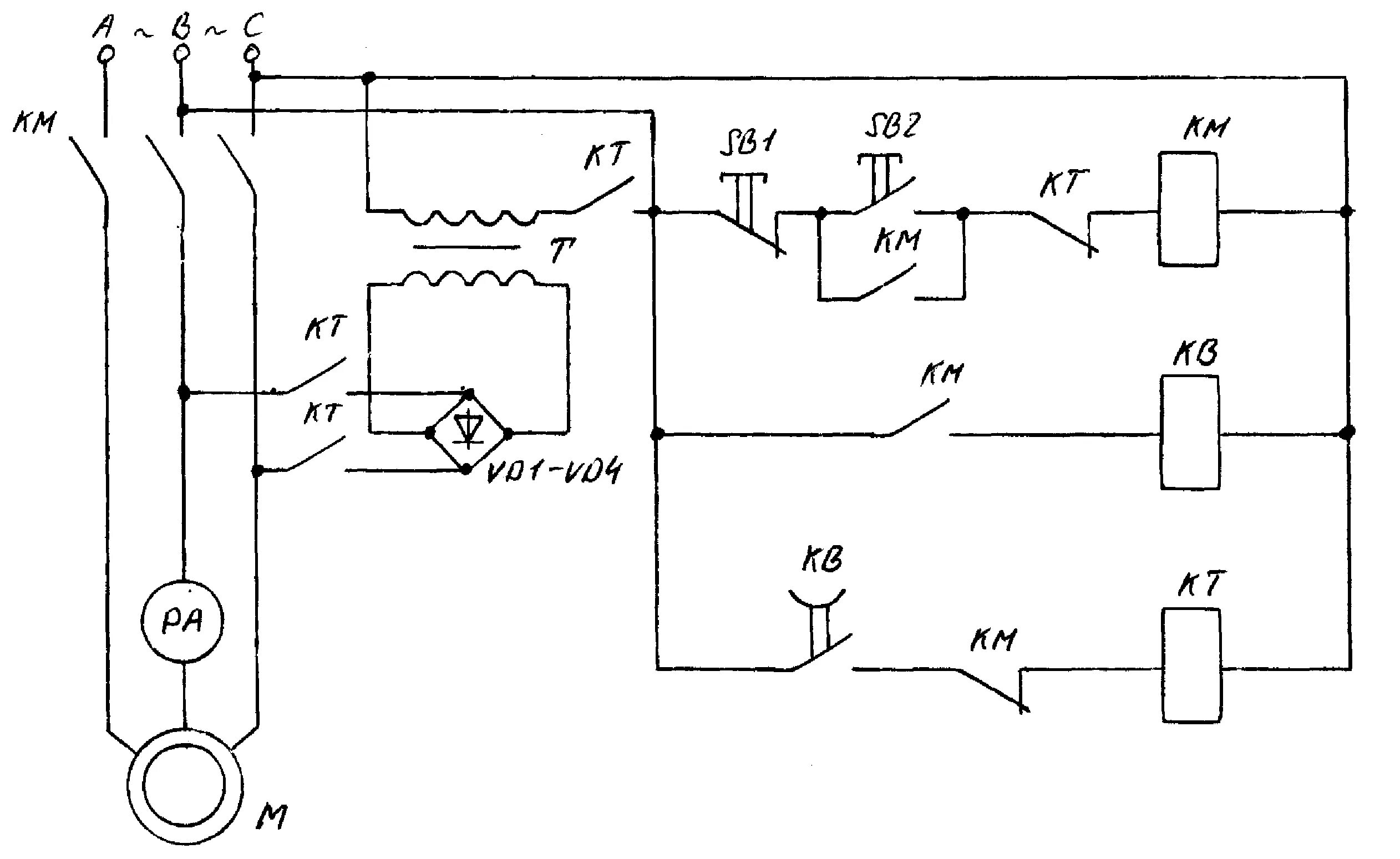
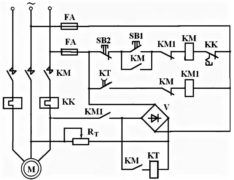
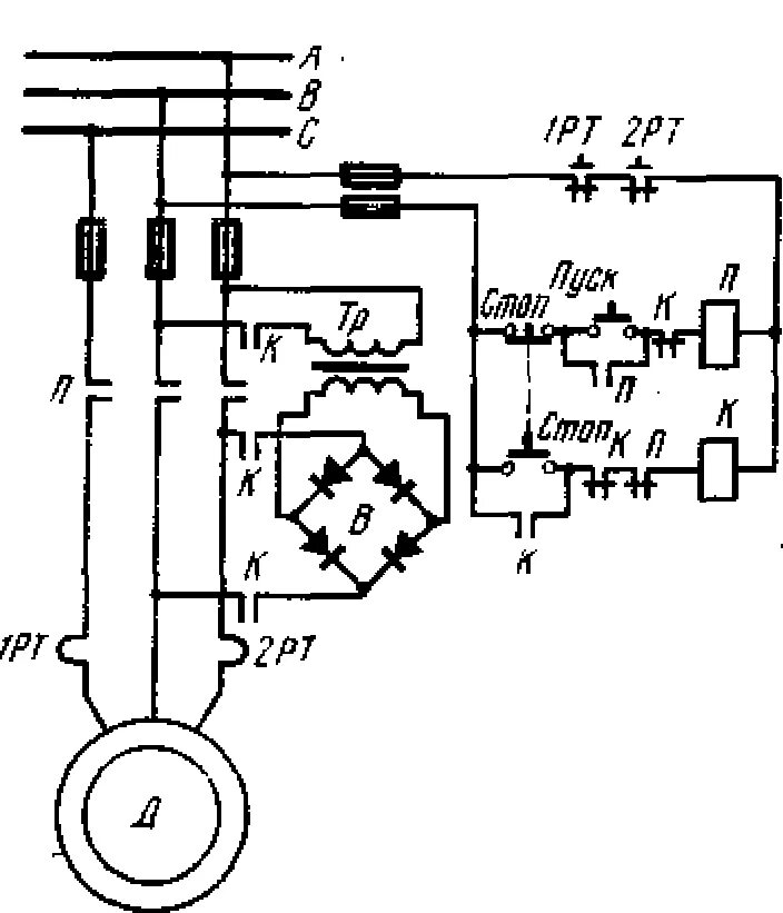
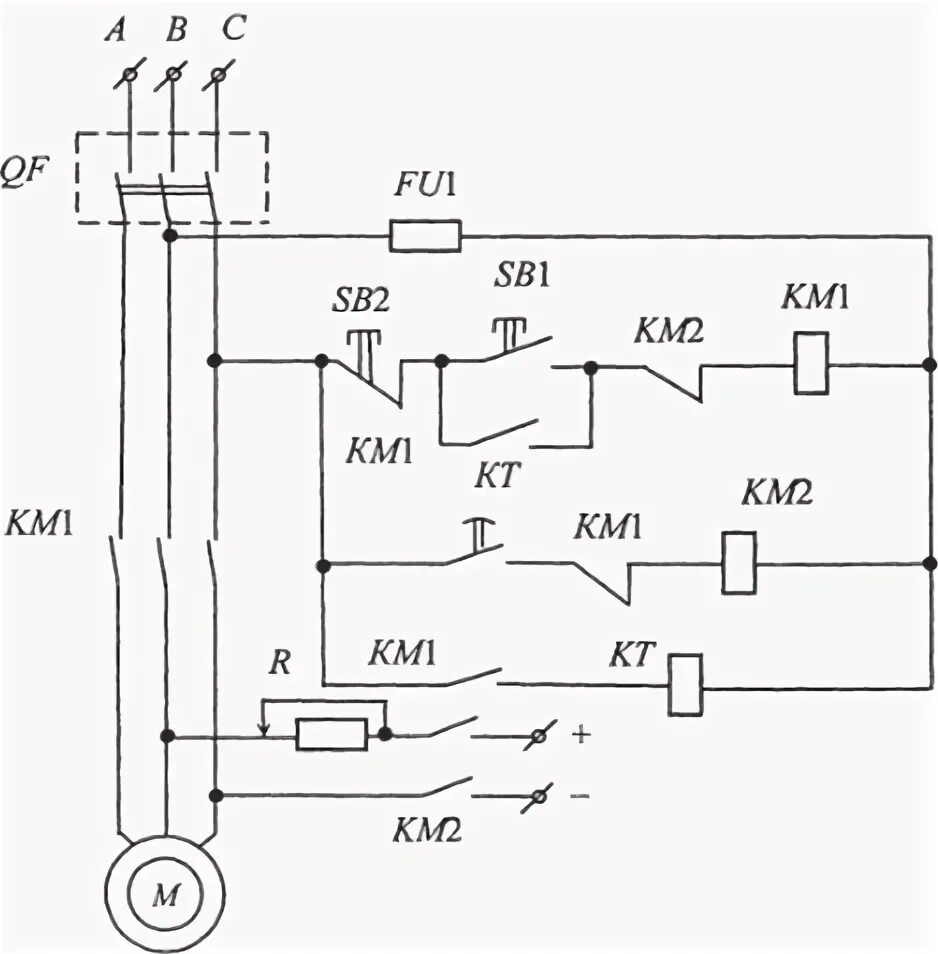
Динамическое торможение асинхронным