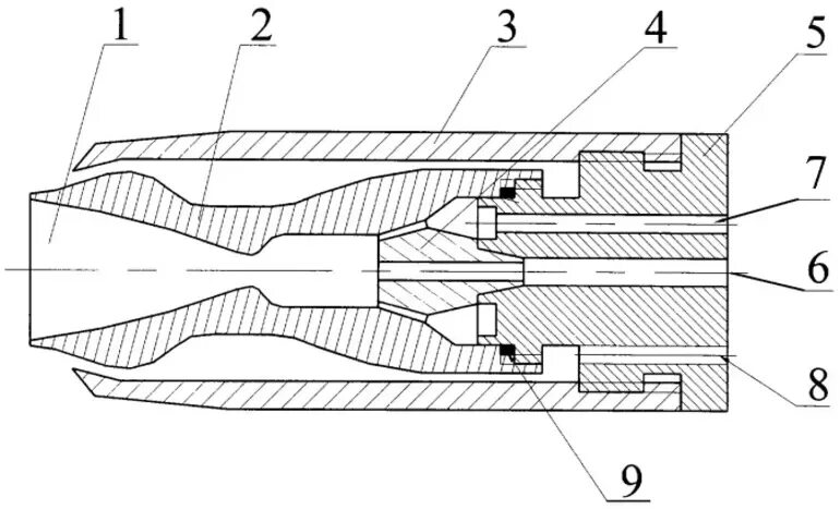
Диффузор пропорции