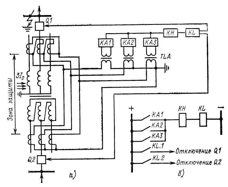
Дифференциальная защита трансформаторов схема