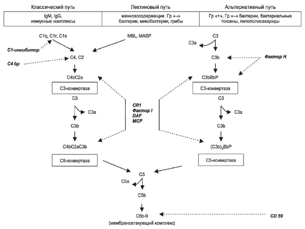
Дефицит комплемента