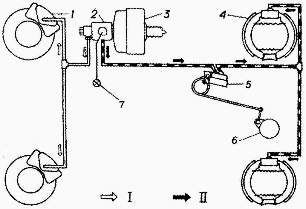
Что входит в тормозную систему