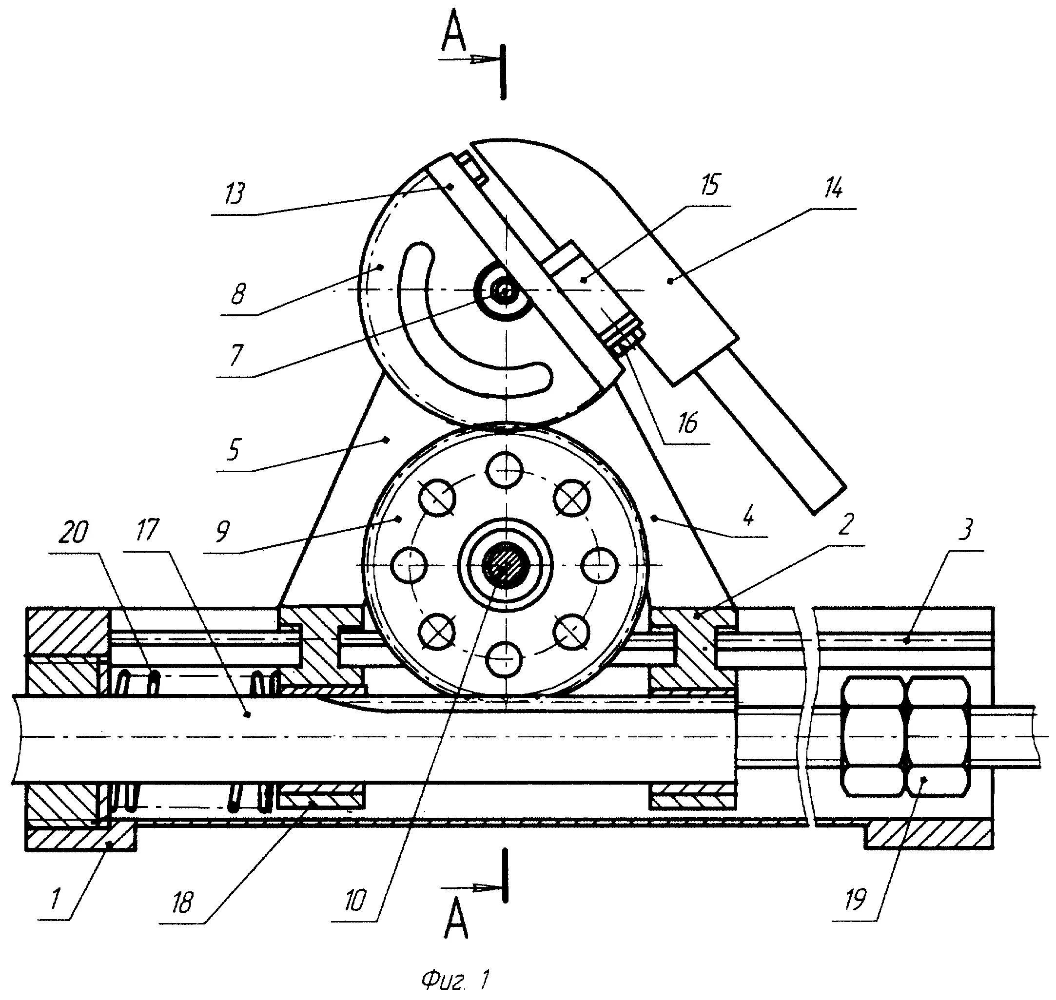
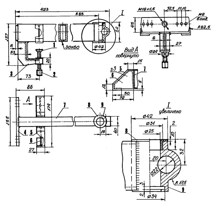
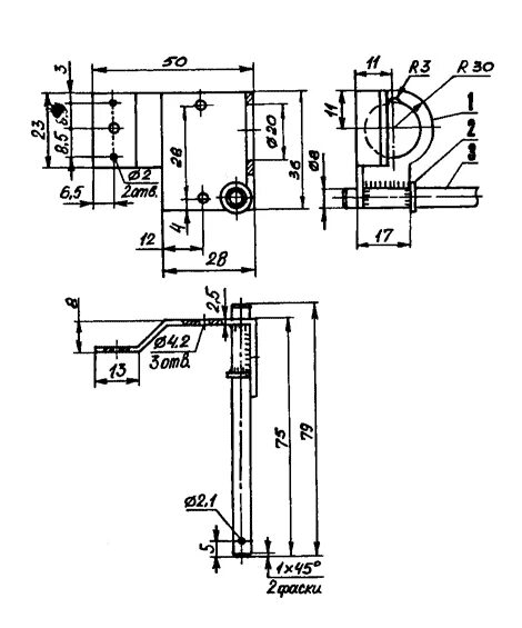
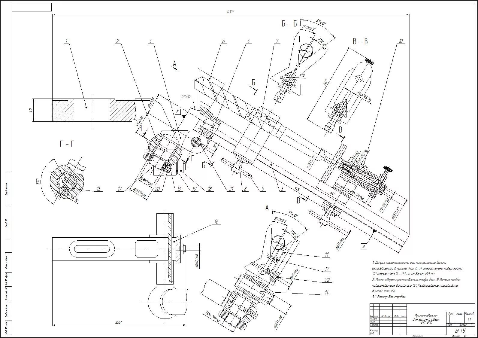
Чертежи точильного станка