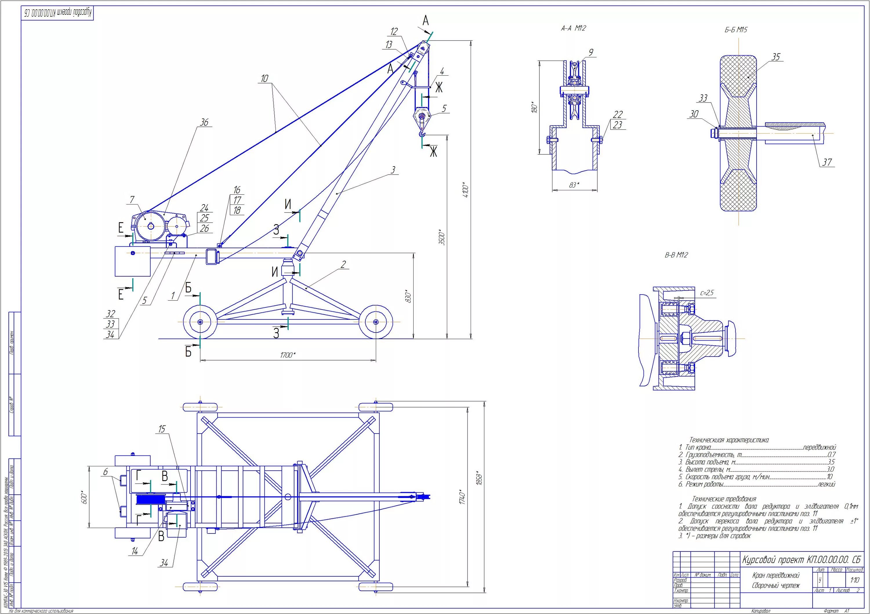
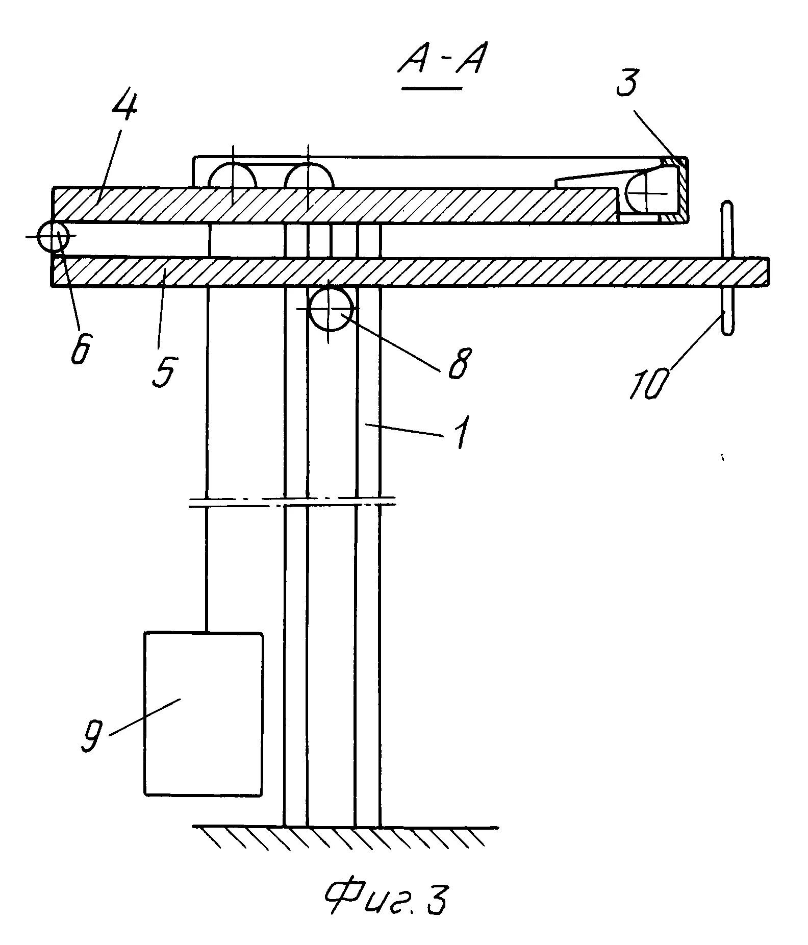
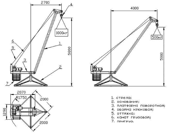
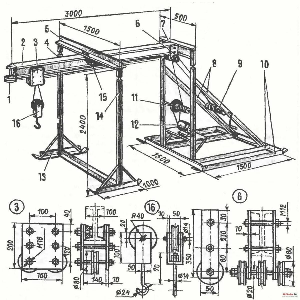
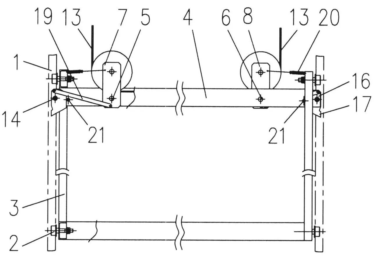
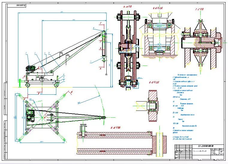
Чертежи самодельных подъемных