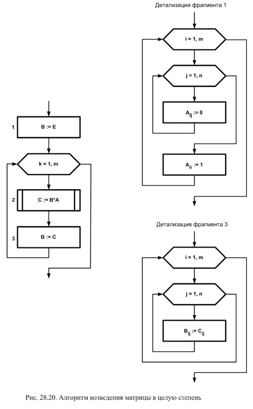
Быстрые алгоритмы возведения