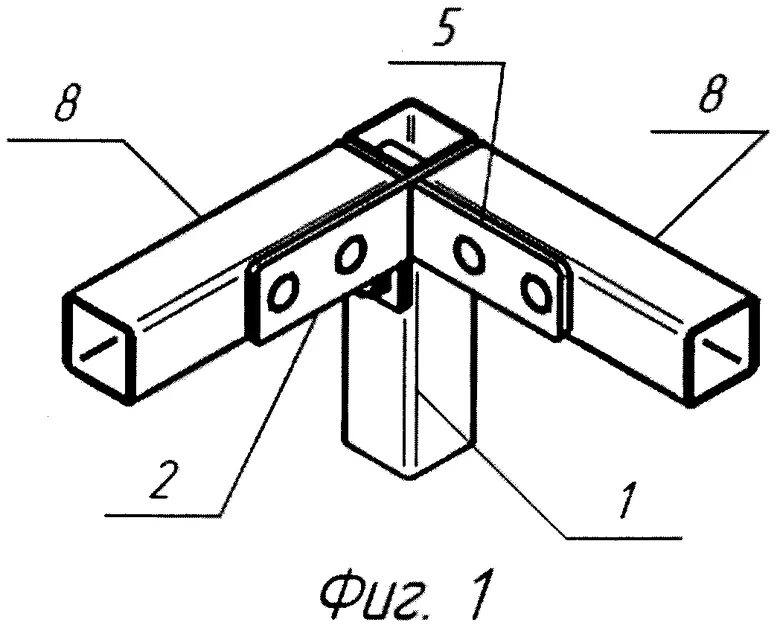
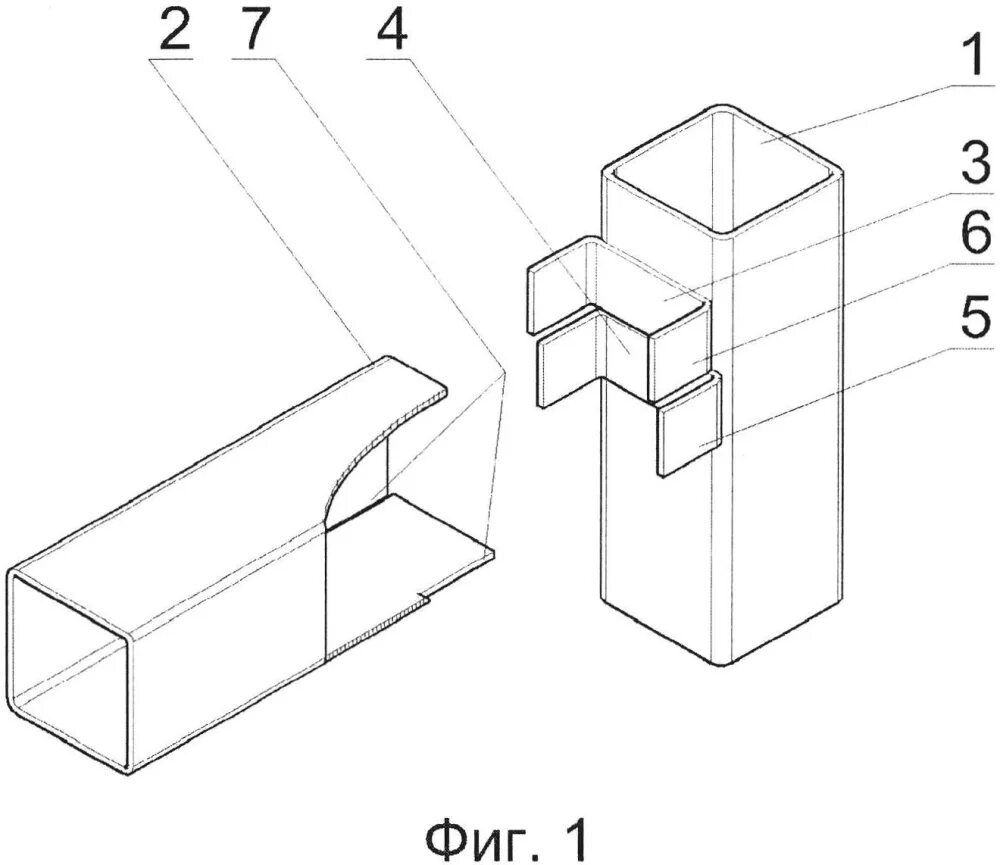
Болтовое соединение профильной трубы