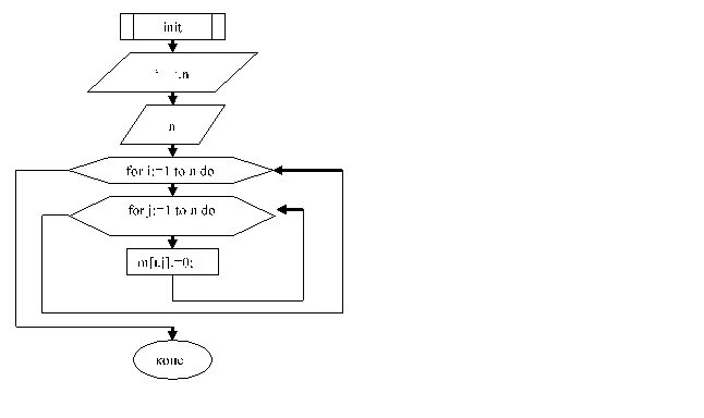
Блок схема вычислительного процесса