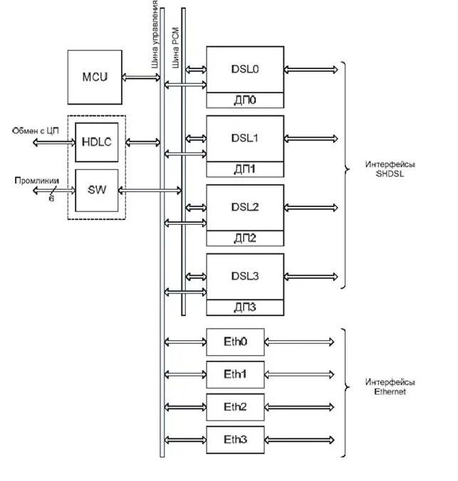
Блок mcu