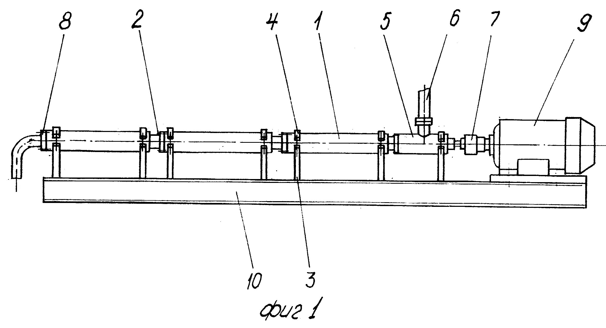
Блок гну