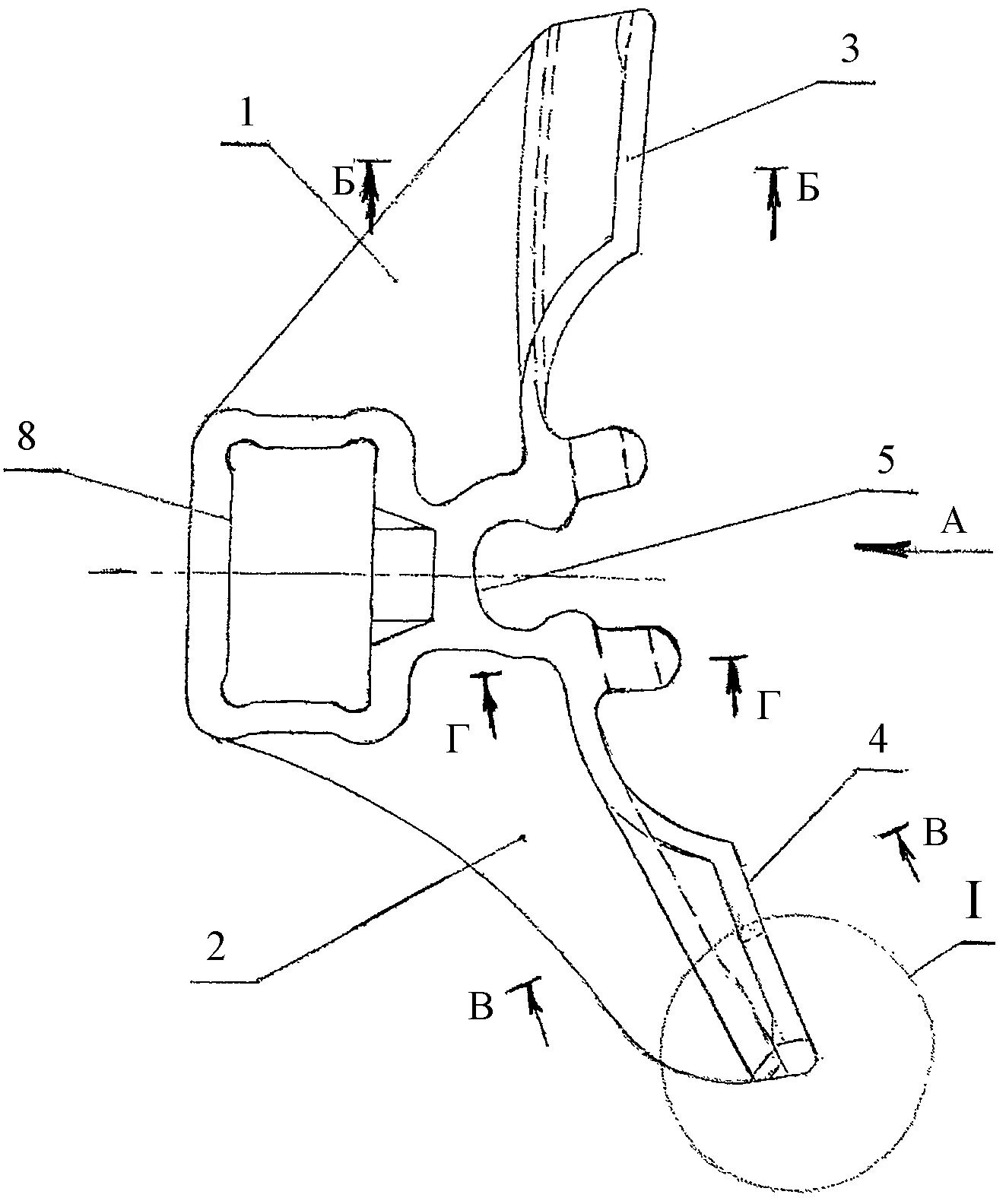
Башмаки грузового вагона