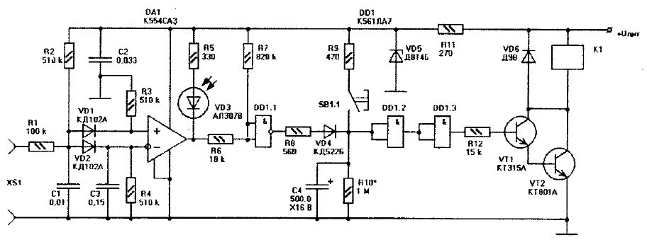
Автоматическое выключение