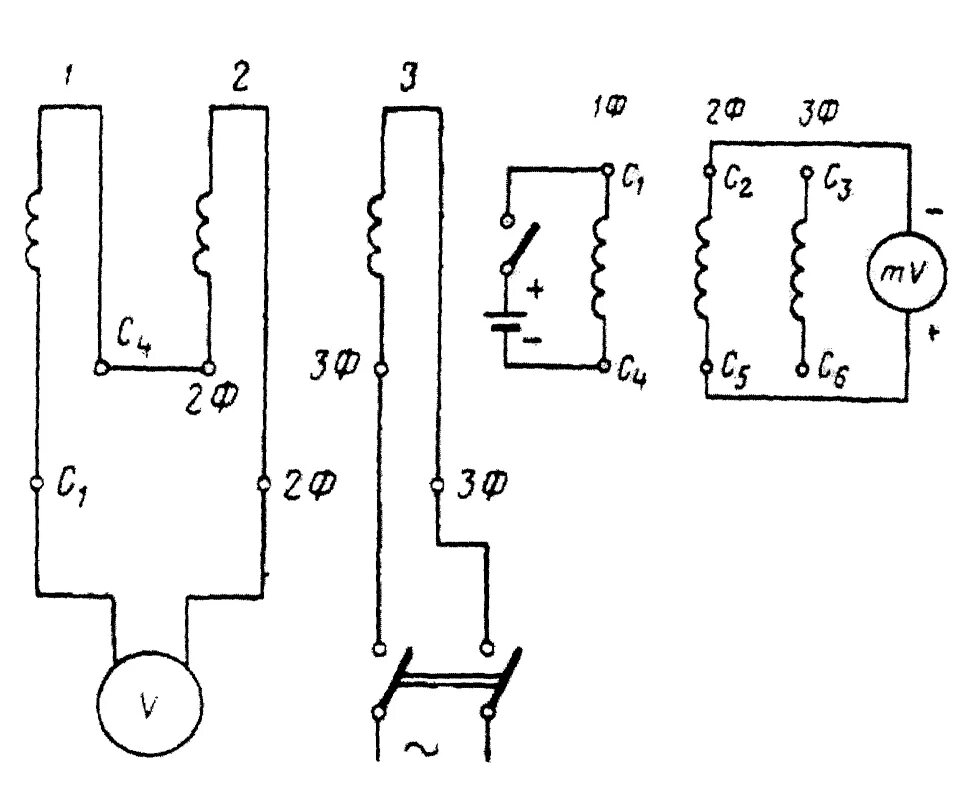
Асинхронный двигатель как определить обмотки