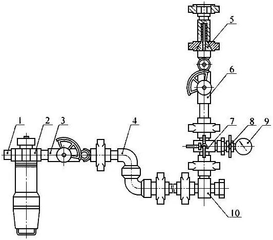
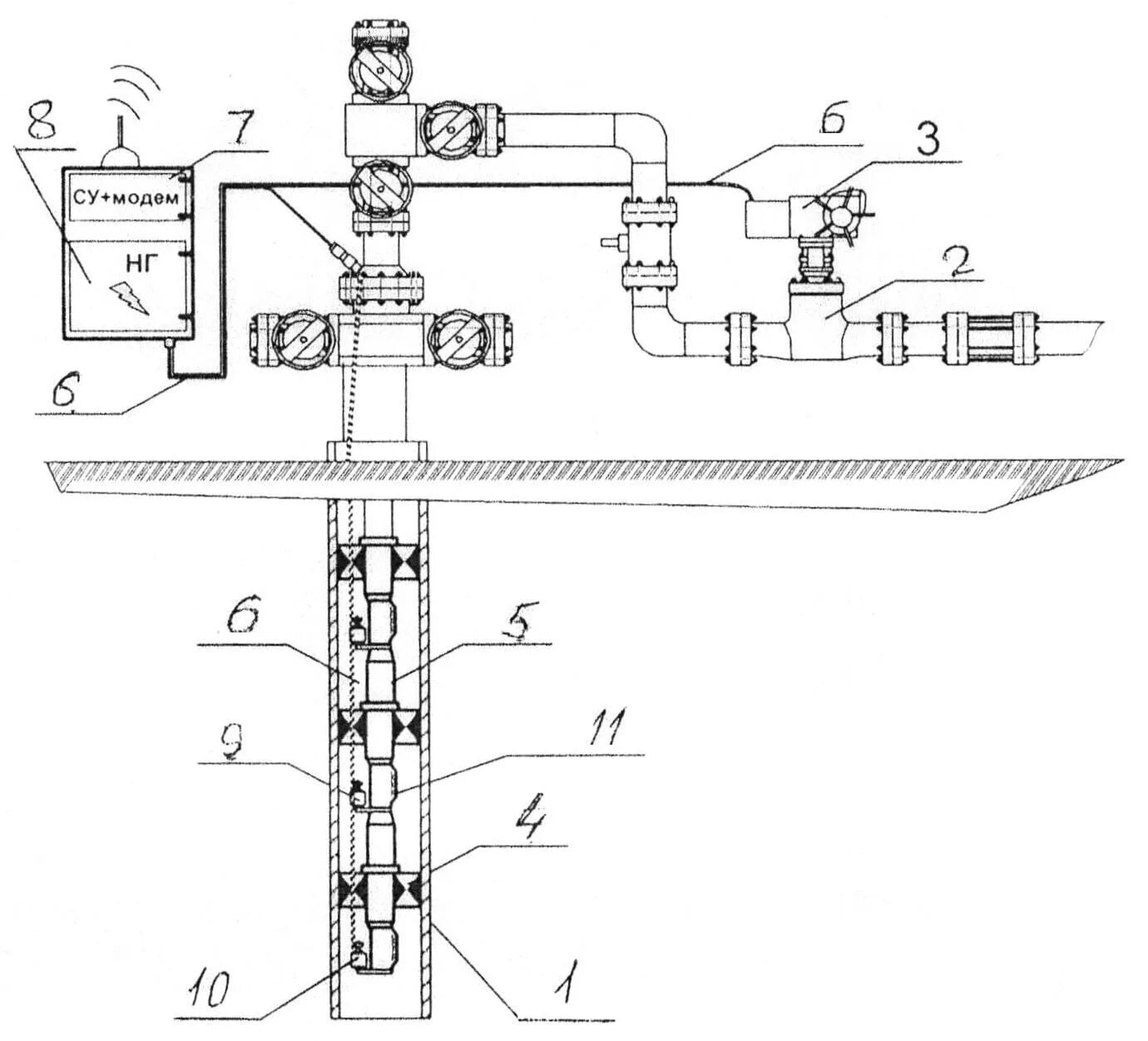
Арматура нагнетательной скважины