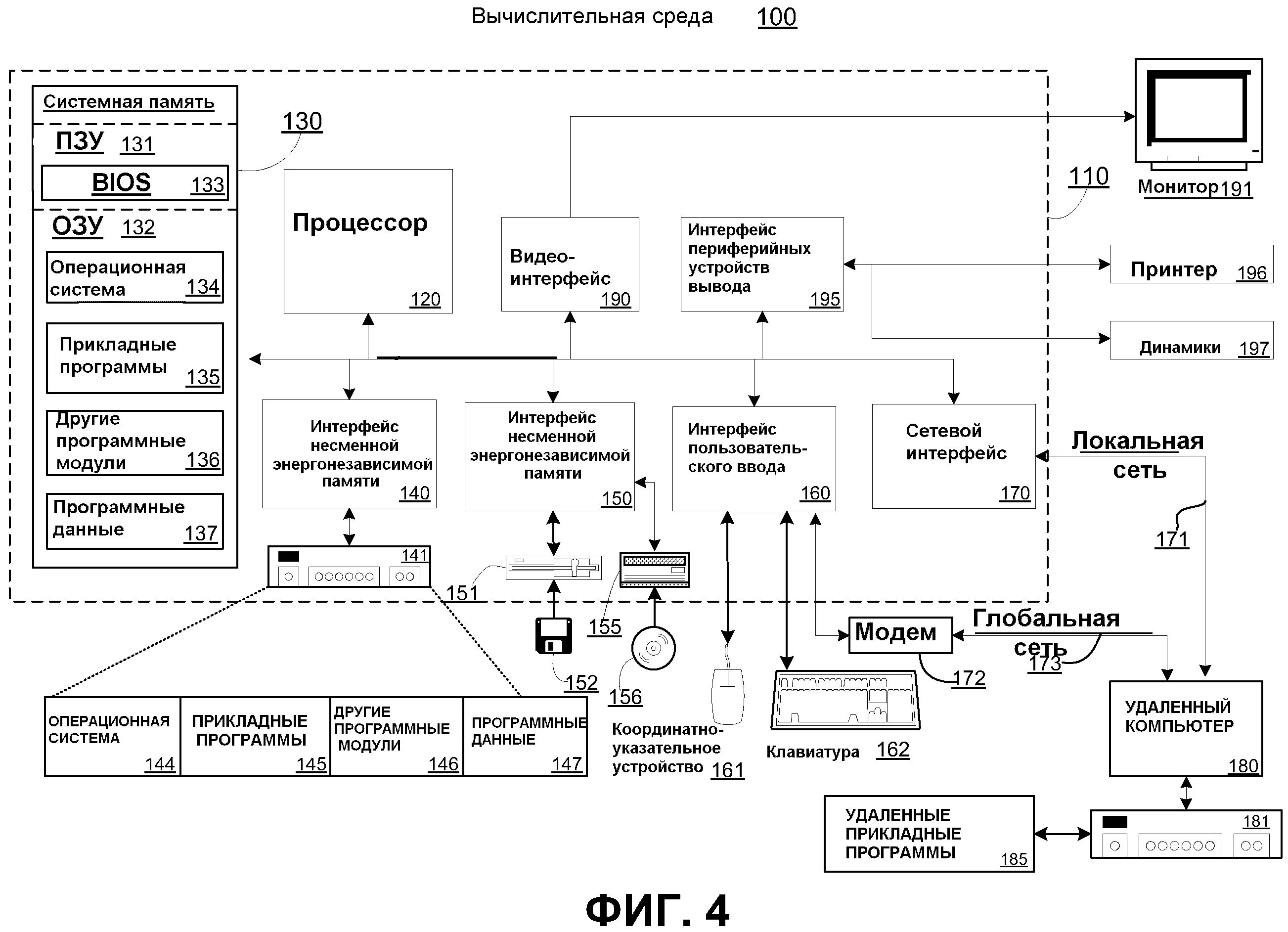
Архитектура программного обеспечения системы