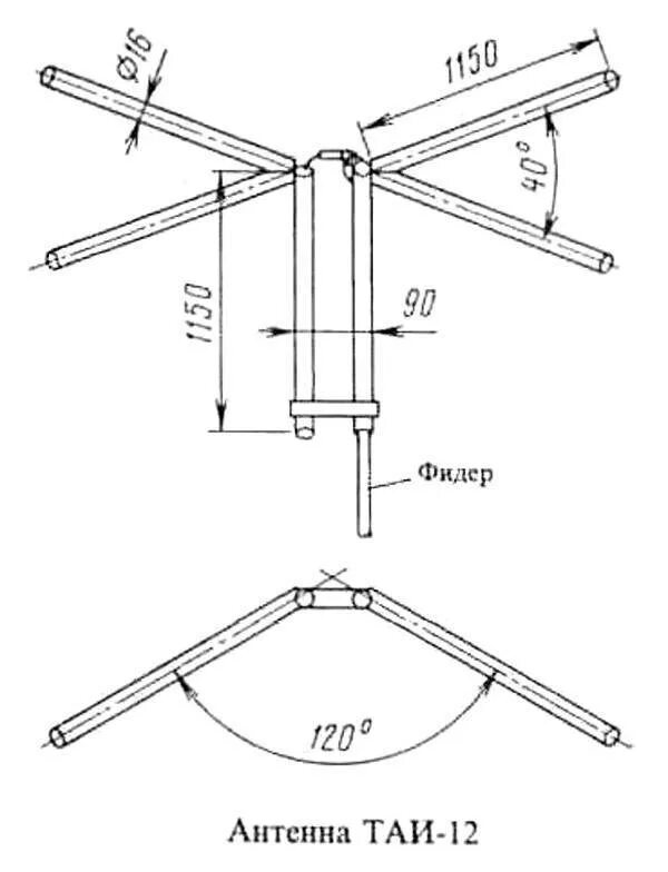
Антенна на дачу своими руками