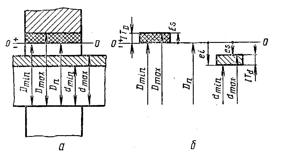
Алгебраическая разность между предельным и номинальным размерами