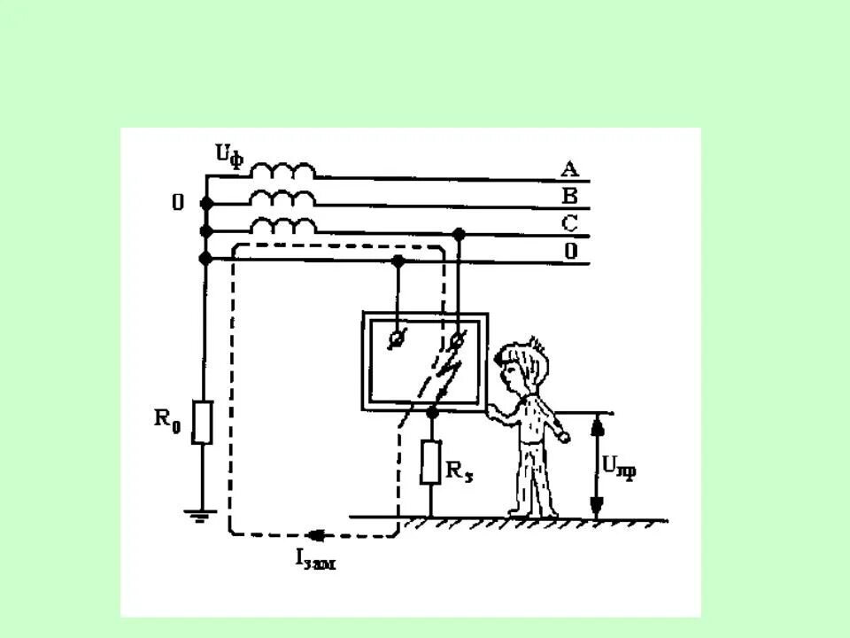
2 защитное заземление