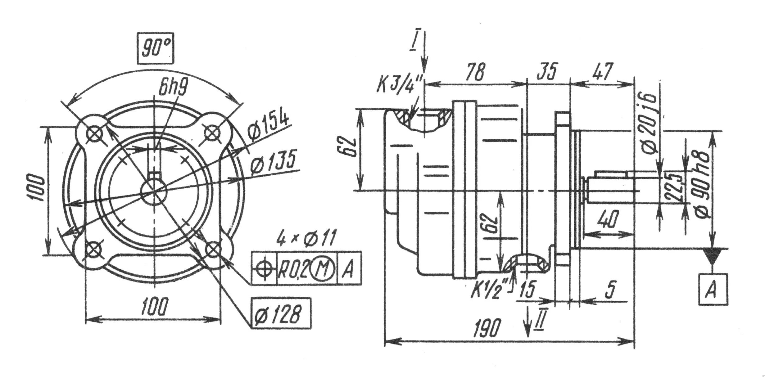
12 б 1 размеры